不朽情缘电子游戏官网

Global
EN
行业方案
技术支持
技术支持
超过千家合作客户,20年服务经验,从选型到技术支持我们都能为您提供
可持续发展
可持续发展
持续创新、引领行业进步是我们不屈的使命。
新闻&资源
新闻&资源
时刻与您分享我们的一点一滴
关于我们
关于我们
不朽情缘电子游戏官网电子集技术研发、芯片制造、封装测试、销售和服务于一体
人才发展
人才发展
一同释放潜力,塑造人类健康未来
行业方案
注重客户方案需求,量身定制解决方案,帮您提升产品核心竞争力

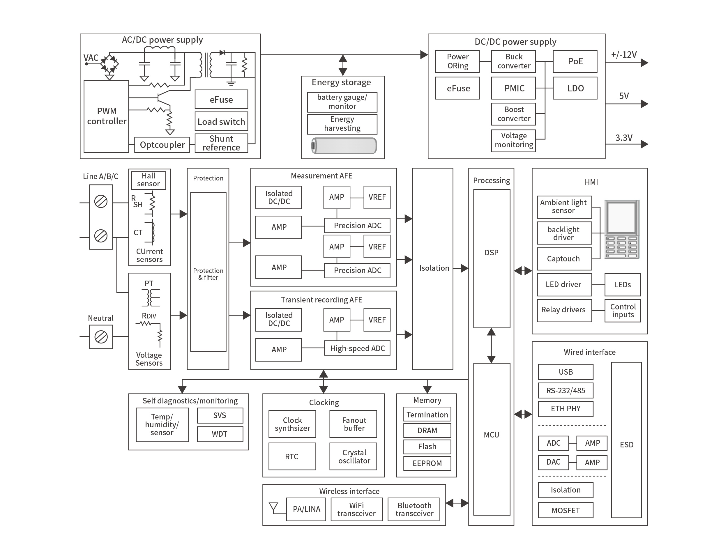
电能质量分析仪

应用框图
查找适用于您系统的产品和参考设计
电能质量分析仪应用框图

产品

技术文档

Gdt 气体放电管 (2)

2R600L-5.5×6

-- 2R600L-5.5×6:双电极、600V、5kA、≤1pF 气体放电管 (GDT),用于通信与电源保护

2R600L-8×6

-- 双电极、600V、10kA、≤1pF 气体放电管 (GDT),用于通信与电源保护

Mov 压敏电阻 (2)

Ntc 热敏电阻 (1)

Tvs 瞬态抑制二极管 (1)

Zd 稳压二极管 (1)

YAZ1D15

-- 针对电子电路稳压需求,提供15V SMA封装齐纳二极管应用方案。该方案可实现电路精准电压稳定,支持-55℃~+150℃宽温工作环境,适配消费电子、工业控制、精密仪器等领域的电源系统、信号钳位、过压防护等应用场景,助力提升电路稳定性与可靠性。

Tvs 瞬态抑制二极管 (1)

Esd 静电保护元件 (1)

ESDULC3V3D9B

-- ESDULC3V3D9B 静电保护二极管,SOD923,标称关断电压 3.3V,双向 保护设计,超低电容(0.5–1 pF),标准工艺/单通道,适用于 中高速信号(如USB 3.0) 的静电防护。

Tvs 瞬态抑制二极管 (1)

Esd 静电保护元件 (1)

ESDULC5V-4K5

-- ESDULC5V-4K5 静电保护二极管,SOD-523,标称关断电压 5.0V,单向 保护设计,超低电容(0.5–1 pF),4通道/4路信号,适用于 中高速信号(如USB 3.0) 的静电防护。

Tvs 瞬态抑制二极管 (1)

Tvs 瞬态抑制二极管 (3)

SMF3.3CA

-- SMF3.3CA, SOD123FL 贴片 TVS 瞬态抑制二极管;3.3V工作峰值电压;200W瞬间峰值功率;用于工业3.3V电路双向瞬态浪涌与静电防护

SMBJ5.0CA

-- SMBJ5.0CA Do-214AA贴片 TVS 瞬态抑制二极管;5.0V工作峰值电压;600W 瞬间峰值功率;用于5.0V电路瞬态浪涌与静电防护

SMCJ15CA

-- SMCJ15CA, DO-214AB贴片TVS瞬态抑制二极管,15V不工作电压,1500W瞬间峰值功率,用于电路瞬态浪涌与静电防护

Esd 静电保护元件 (2)

ESD24VAPB

-- ESD24VAPB 静电保护二极管,SOT23,标称关断电压 24.0V,双向 保护设计,普通电容(无特殊低电容设计),标准工艺/单通道,适用于 对电容不敏感的低速信号 的静电防护。

ESD0524P

-- ESD0524P静电保护二极管,DFN2510,标称关断电压5.0V,4通道/4路信号,经典物料

Tvs 瞬态抑制二极管 (1)

Esd 静电保护元件 (2)

ESDSM712

-- ESDSM712 静电保护二极管,7V+12V专为RS485设计,适用于 对电容不敏感的低速信号的静电防护

ESDSR05

-- ESDSR05 静电保护二极管,通用贴片封装,标称关断电压 5.0V,单向 保护设计,普通电容(无特殊低电容设计),标准工艺/单通道,适用于 对电容不敏感的低速信号 的静电防护。

Tvs 瞬态抑制二极管 (1)

Esd 静电保护元件 (1)

NRESDTLC5V0D8B

-- NRESDTLC5V0D8B 静电保护二极管,DFN1006/SOD882,标称关断电压 5.0V,双向 保护设计,极低电容(0.2 pF以内),标准工艺/单通道,适用于 超高速高频信号(如HDMI 2.1、5G射频) 的静电防护。

Tvs 瞬态抑制二极管 (1)

SMF3.3CA

-- SMF3.3CA, SOD123FL 贴片 TVS 瞬态抑制二极管;3.3V工作峰值电压;200W瞬间峰值功率;用于工业3.3V电路双向瞬态浪涌与静电防护

Esd 静电保护元件 (2)

Esd 静电保护元件 (1)

ESDULC5V-4K5

-- ESDULC5V-4K5 静电保护二极管,SOD-523,标称关断电压 5.0V,单向 保护设计,超低电容(0.5–1 pF),4通道/4路信号,适用于 中高速信号(如USB 3.0) 的静电防护。

Tvs 瞬态抑制二极管 (1)

sitemap网站地图