不朽情缘电子游戏官网

Global
EN
行业方案
技术支持
技术支持
超过千家合作客户,20年服务经验,从选型到技术支持我们都能为您提供
可持续发展
可持续发展
持续创新、引领行业进步是我们不屈的使命。
新闻&资源
新闻&资源
时刻与您分享我们的一点一滴
关于我们
关于我们
不朽情缘电子游戏官网电子集技术研发、芯片制造、封装测试、销售和服务于一体
人才发展
人才发展
一同释放潜力,塑造人类健康未来
行业方案
注重客户方案需求,量身定制解决方案,帮您提升产品核心竞争力

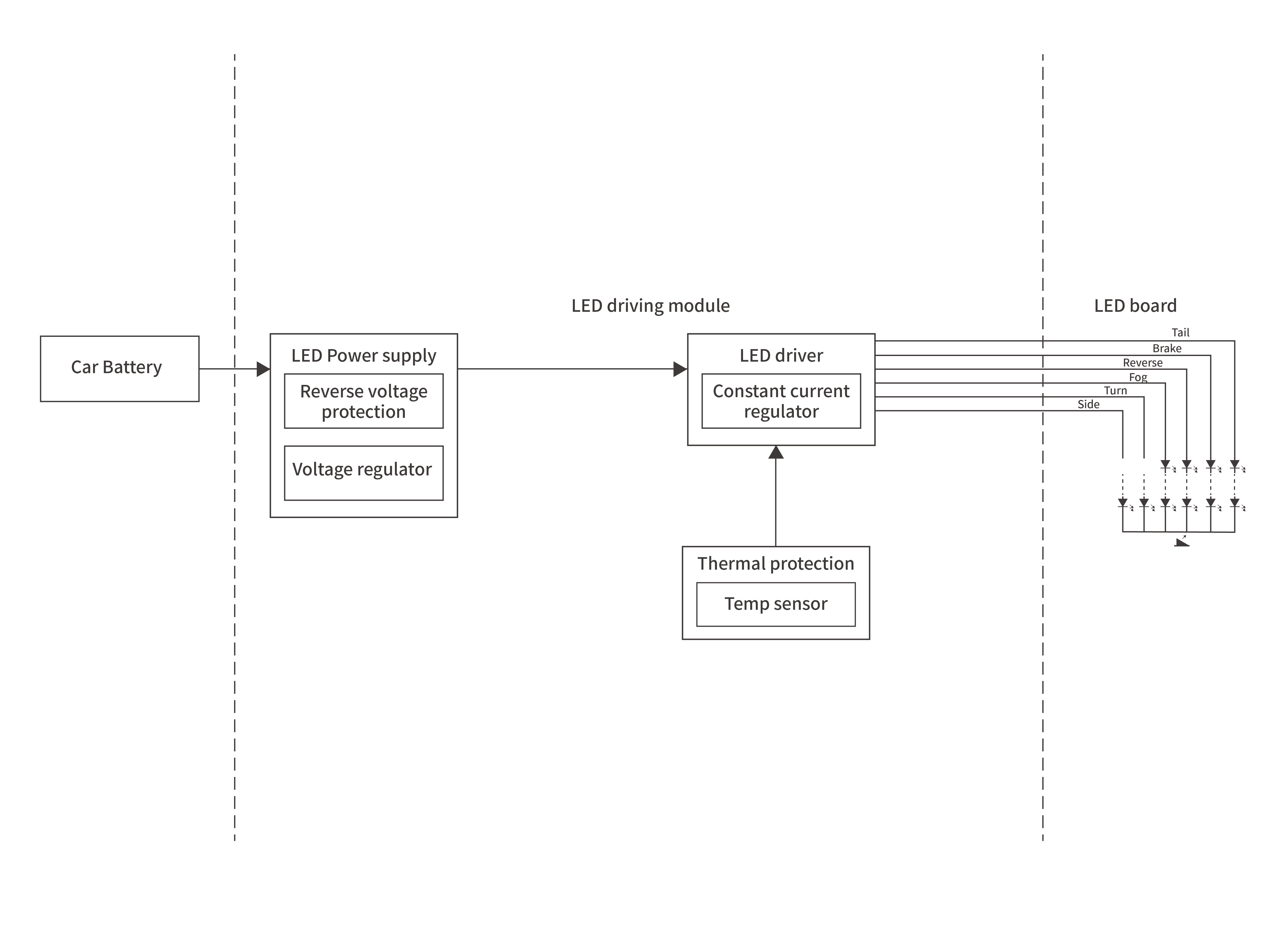
尾灯

尾灯是车辆位置指示与刹车警示的关键。针对尾灯模组的户外工作环境,我们提供了高标准的防腐蚀与抗电涌设计。我们的方案确保尾灯在频繁刹车或电网波动中始终保持高响应度,为后车提供清晰、可靠的安全预警信号。

应用框图
查找适用于您系统的产品和参考设计
尾灯应用框图

产品

技术文档

Tvs 瞬态抑制二极管 (1)

SM8K33CA

-- SM8K33CA凭借33V工作电压和8000W浪涌吸收能力,可有效抑制电快速瞬变脉冲群、雷击浪涌等瞬态过压。表面贴装TVS设计适配高密度PCB布局、小型化设备,为工业自动化、通信基站、汽车电子(非车规)等领域提供可靠防护,兼容自动化生产工艺,降低应用成本。

Tvs 瞬态抑制二极管 (1)

SMBJ24CA

-- SMBJ24CA Do-214AA贴片 TVS 瞬态抑制二极管;24V工作峰值电压;600W 瞬间峰值功率;用于24V电路瞬态浪涌与静电防护

Esd 静电保护元件 (1)

Esd 静电保护元件 (1)

ESDLC5V0D3B

-- ESDLC5V0D3B 静电保护二极管,SOD323,标称关断电压 5.0V,双向 保护设计,低电容(1–10 pF),标准工艺/单通道,适用于 一般高速信号(如USB 2.0) 的静电防护。

Esd 静电保护元件 (1)

ESDLC5V0D3B

-- ESDLC5V0D3B 静电保护二极管,SOD323,标称关断电压 5.0V,双向 保护设计,低电容(1–10 pF),标准工艺/单通道,适用于 一般高速信号(如USB 2.0) 的静电防护。

Esd 静电保护元件 (1)

ESDLC5V0D3B

-- ESDLC5V0D3B 静电保护二极管,SOD323,标称关断电压 5.0V,双向 保护设计,低电容(1–10 pF),标准工艺/单通道,适用于 一般高速信号(如USB 2.0) 的静电防护。
sitemap网站地图