不朽情缘电子游戏官网

Global
EN
行业方案
技术支持
技术支持
超过千家合作客户,20年服务经验,从选型到技术支持我们都能为您提供
可持续发展
可持续发展
持续创新、引领行业进步是我们不屈的使命。
新闻&资源
新闻&资源
时刻与您分享我们的一点一滴
关于我们
关于我们
不朽情缘电子游戏官网电子集技术研发、芯片制造、封装测试、销售和服务于一体
人才发展
人才发展
一同释放潜力,塑造人类健康未来
行业方案
注重客户方案需求,量身定制解决方案,帮您提升产品核心竞争力

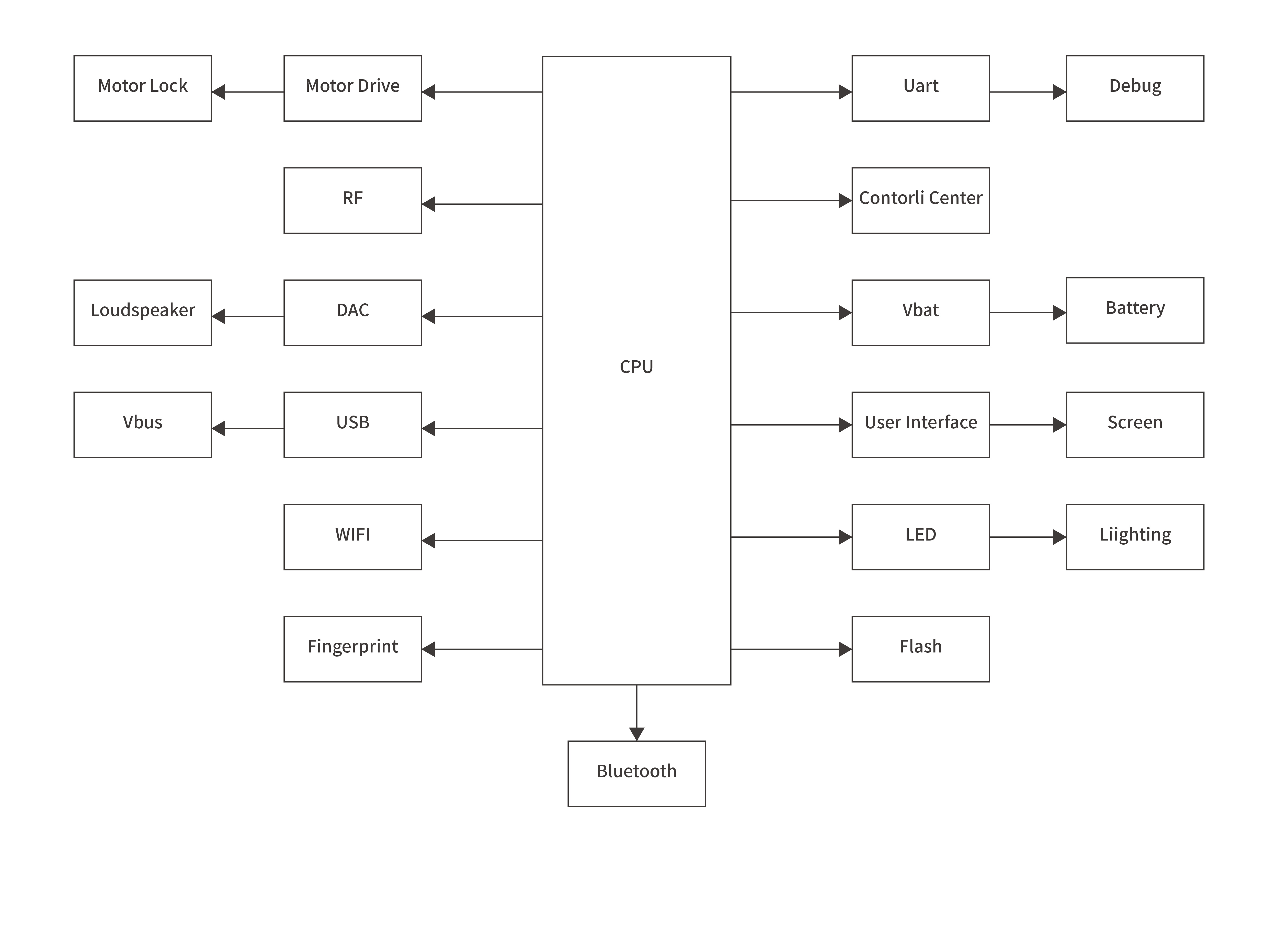
智能锁

智能锁作为家庭安全的第一道防线,其电子系统必须在复杂的外部环境下保持绝对可靠。针对指纹识别头与触摸面板易受人体静电(ESD)电击导致的失效,以及离合电机在动作瞬间对主控电路产生的反向电流冲击,我们提供了工业级静电防护与高效能驱动保护方案。这些方案在保持极低待机功耗(nA级别)的同时,能有效隔离外界电学噪声干扰,确保在干燥、潮湿或强电磁干扰环境下,生物识别精准、机械动作顺滑,为智能安防提供全天候的硬件级保护。

应用框图
查找适用于您系统的产品和参考设计
智能锁应用框图

产品

技术文档

Tvs 瞬态抑制二极管 (2)

SMAJ5.0CA

-- SMAJ5.0CA Do-214AC贴片TVS瞬态抑制二极管,5V工作峰值电压,400W瞬间峰值功率,用于5V电路瞬态浪涌与静电防护

SMBJ24CA

-- SMBJ24CA Do-214AA贴片 TVS 瞬态抑制二极管;24V工作峰值电压;600W 瞬间峰值功率;用于24V电路瞬态浪涌与静电防护

Sbr 肖特基二极管 (1)

Esd 静电保护元件 (1)

Esd 静电保护元件 (3)

ESDLC24VD3B

-- ESDLC24VD3B 静电保护二极管,SOD323,标称关断电压 24.0V,双向 保护设计,低电容(1–10 pF),标准工艺/单通道,适用于 一般高速信号(如USB 2.0) 的静电防护。

ESDSRVLC05-4

-- ESDSRVLC05-4 静电保护二极管,通用贴片封装,标称关断电压 5.0V,单向 保护设计,普通电容(无特殊低电容设计),4通道/4路信号,适用于 对电容不敏感的低速信号 的静电防护。

NRESDTLC5V0D8B

-- NRESDTLC5V0D8B 静电保护二极管,DFN1006/SOD882,标称关断电压 5.0V,双向 保护设计,极低电容(0.2 pF以内),标准工艺/单通道,适用于 超高速高频信号(如HDMI 2.1、5G射频) 的静电防护。

Tvs 瞬态抑制二极管 (1)

Esd 静电保护元件 (3)

ESDLC24VD3B

-- ESDLC24VD3B 静电保护二极管,SOD323,标称关断电压 24.0V,双向 保护设计,低电容(1–10 pF),标准工艺/单通道,适用于 一般高速信号(如USB 2.0) 的静电防护。

ESDSRVLC05-4

-- ESDSRVLC05-4 静电保护二极管,通用贴片封装,标称关断电压 5.0V,单向 保护设计,普通电容(无特殊低电容设计),4通道/4路信号,适用于 对电容不敏感的低速信号 的静电防护。

NRESDTLC5V0D8B

-- NRESDTLC5V0D8B 静电保护二极管,DFN1006/SOD882,标称关断电压 5.0V,双向 保护设计,极低电容(0.2 pF以内),标准工艺/单通道,适用于 超高速高频信号(如HDMI 2.1、5G射频) 的静电防护。

Tvs 瞬态抑制二极管 (1)

Esd 静电保护元件 (3)

ESDLC24VD3B

-- ESDLC24VD3B 静电保护二极管,SOD323,标称关断电压 24.0V,双向 保护设计,低电容(1–10 pF),标准工艺/单通道,适用于 一般高速信号(如USB 2.0) 的静电防护。

ESDSRVLC05-4

-- ESDSRVLC05-4 静电保护二极管,通用贴片封装,标称关断电压 5.0V,单向 保护设计,普通电容(无特殊低电容设计),4通道/4路信号,适用于 对电容不敏感的低速信号 的静电防护。

NRESDTLC5V0D8B

-- NRESDTLC5V0D8B 静电保护二极管,DFN1006/SOD882,标称关断电压 5.0V,双向 保护设计,极低电容(0.2 pF以内),标准工艺/单通道,适用于 超高速高频信号(如HDMI 2.1、5G射频) 的静电防护。

Tvs 瞬态抑制二极管 (1)

Esd 静电保护元件 (2)

ESD5V0D5B

-- ESD5V0D5B 静电保护二极管,SOD523,标称关断电压 5.0V,双向 保护设计,普通电容(无特殊低电容设计),标准工艺/单通道,适用于 对电容不敏感的低速信号 的静电防护。

ESDSRVLC05-4

-- ESDSRVLC05-4 静电保护二极管,通用贴片封装,标称关断电压 5.0V,单向 保护设计,普通电容(无特殊低电容设计),4通道/4路信号,适用于 对电容不敏感的低速信号 的静电防护。

Tvs 瞬态抑制二极管 (1)

Esd 静电保护元件 (2)

ESDLC24VD3B

-- ESDLC24VD3B 静电保护二极管,SOD323,标称关断电压 24.0V,双向 保护设计,低电容(1–10 pF),标准工艺/单通道,适用于 一般高速信号(如USB 2.0) 的静电防护。

ESDSRVLC05-4

-- ESDSRVLC05-4 静电保护二极管,通用贴片封装,标称关断电压 5.0V,单向 保护设计,普通电容(无特殊低电容设计),4通道/4路信号,适用于 对电容不敏感的低速信号 的静电防护。

Tvs 瞬态抑制二极管 (1)

Esd 静电保护元件 (2)

ESDSRVLC05-4

-- ESDSRVLC05-4 静电保护二极管,通用贴片封装,标称关断电压 5.0V,单向 保护设计,普通电容(无特殊低电容设计),4通道/4路信号,适用于 对电容不敏感的低速信号 的静电防护。

ESD0524P

-- ESD0524P静电保护二极管,DFN2510,标称关断电压5.0V,4通道/4路信号,经典物料

Tvs 瞬态抑制二极管 (1)

Esd 静电保护元件 (2)

ESDSRVLC05-4

-- ESDSRVLC05-4 静电保护二极管,通用贴片封装,标称关断电压 5.0V,单向 保护设计,普通电容(无特殊低电容设计),4通道/4路信号,适用于 对电容不敏感的低速信号 的静电防护。

ESD0524P

-- ESD0524P静电保护二极管,DFN2510,标称关断电压5.0V,4通道/4路信号,经典物料

Tvs 瞬态抑制二极管 (1)

Esd 静电保护元件 (1)

ESDLC5V0D3B

-- ESDLC5V0D3B 静电保护二极管,SOD323,标称关断电压 5.0V,双向 保护设计,低电容(1–10 pF),标准工艺/单通道,适用于 一般高速信号(如USB 2.0) 的静电防护。

Tvs 瞬态抑制二极管 (1)

Esd 静电保护元件 (1)

ESDLC5V0D3B

-- ESDLC5V0D3B 静电保护二极管,SOD323,标称关断电压 5.0V,双向 保护设计,低电容(1–10 pF),标准工艺/单通道,适用于 一般高速信号(如USB 2.0) 的静电防护。

Tvs 瞬态抑制二极管 (2)

Esd 静电保护元件 (1)

ESDLC5V0D3B

-- ESDLC5V0D3B 静电保护二极管,SOD323,标称关断电压 5.0V,双向 保护设计,低电容(1–10 pF),标准工艺/单通道,适用于 一般高速信号(如USB 2.0) 的静电防护。

Tvs 瞬态抑制二极管 (2)

Esd 静电保护元件 (1)

ESDLC5V0D3

-- ESDLC5V0D3 静电保护二极管,SOD323,标称关断电压 5.0V,单向 保护设计,低电容(1–10 pF),标准工艺/单通道,适用于 一般高速信号(如USB 2.0) 的静电防护。

Tvs 瞬态抑制二极管 (2)

Esd 静电保护元件 (1)

ESDLC5V0D3

-- ESDLC5V0D3 静电保护二极管,SOD323,标称关断电压 5.0V,单向 保护设计,低电容(1–10 pF),标准工艺/单通道,适用于 一般高速信号(如USB 2.0) 的静电防护。

Tvs 瞬态抑制二极管 (2)

Esd 静电保护元件 (2)

ESDULC5V0D5B

-- ESDULC5V0D5B 静电保护二极管,SOD523,标称关断电压 5.0V,双向 保护设计,超低电容(0.5–1 pF),标准工艺/单通道,适用于 中高速信号(如USB 3.0) 的静电防护。

ESDSRV05-4H

-- ESDSRV05-4H 静电保护二极管,通用贴片封装,标称关断电压 5.0V,单向 保护设计,普通电容(无特殊低电容设计),4通道/4路信号,适用于 对电容不敏感的低速信号 的静电防护。

Tvs 瞬态抑制二极管 (1)

Esd 静电保护元件 (2)

ESDULC5V0D5B

-- ESDULC5V0D5B 静电保护二极管,SOD523,标称关断电压 5.0V,双向 保护设计,超低电容(0.5–1 pF),标准工艺/单通道,适用于 中高速信号(如USB 3.0) 的静电防护。

ESDSRV05-4H

-- ESDSRV05-4H 静电保护二极管,通用贴片封装,标称关断电压 5.0V,单向 保护设计,普通电容(无特殊低电容设计),4通道/4路信号,适用于 对电容不敏感的低速信号 的静电防护。

Tvs 瞬态抑制二极管 (1)

Esd 静电保护元件 (1)

ESDLC5V0D3B

-- ESDLC5V0D3B 静电保护二极管,SOD323,标称关断电压 5.0V,双向 保护设计,低电容(1–10 pF),标准工艺/单通道,适用于 一般高速信号(如USB 2.0) 的静电防护。

Tvs 瞬态抑制二极管 (2)

Esd 静电保护元件 (1)

ESDLC5V0D3B

-- ESDLC5V0D3B 静电保护二极管,SOD323,标称关断电压 5.0V,双向 保护设计,低电容(1–10 pF),标准工艺/单通道,适用于 一般高速信号(如USB 2.0) 的静电防护。

Esd 静电保护元件 (1)

ESDLC5V0D3B

-- ESDLC5V0D3B 静电保护二极管,SOD323,标称关断电压 5.0V,双向 保护设计,低电容(1–10 pF),标准工艺/单通道,适用于 一般高速信号(如USB 2.0) 的静电防护。

Tvs 瞬态抑制二极管 (2)

其他相关
sitemap网站地图