不朽情缘电子游戏官网

Global
EN
行业方案
技术支持
技术支持
超过千家合作客户,20年服务经验,从选型到技术支持我们都能为您提供
可持续发展
可持续发展
持续创新、引领行业进步是我们不屈的使命。
新闻&资源
新闻&资源
时刻与您分享我们的一点一滴
关于我们
关于我们
不朽情缘电子游戏官网电子集技术研发、芯片制造、封装测试、销售和服务于一体
人才发展
人才发展
一同释放潜力,塑造人类健康未来
行业方案
注重客户方案需求,量身定制解决方案,帮您提升产品核心竞争力

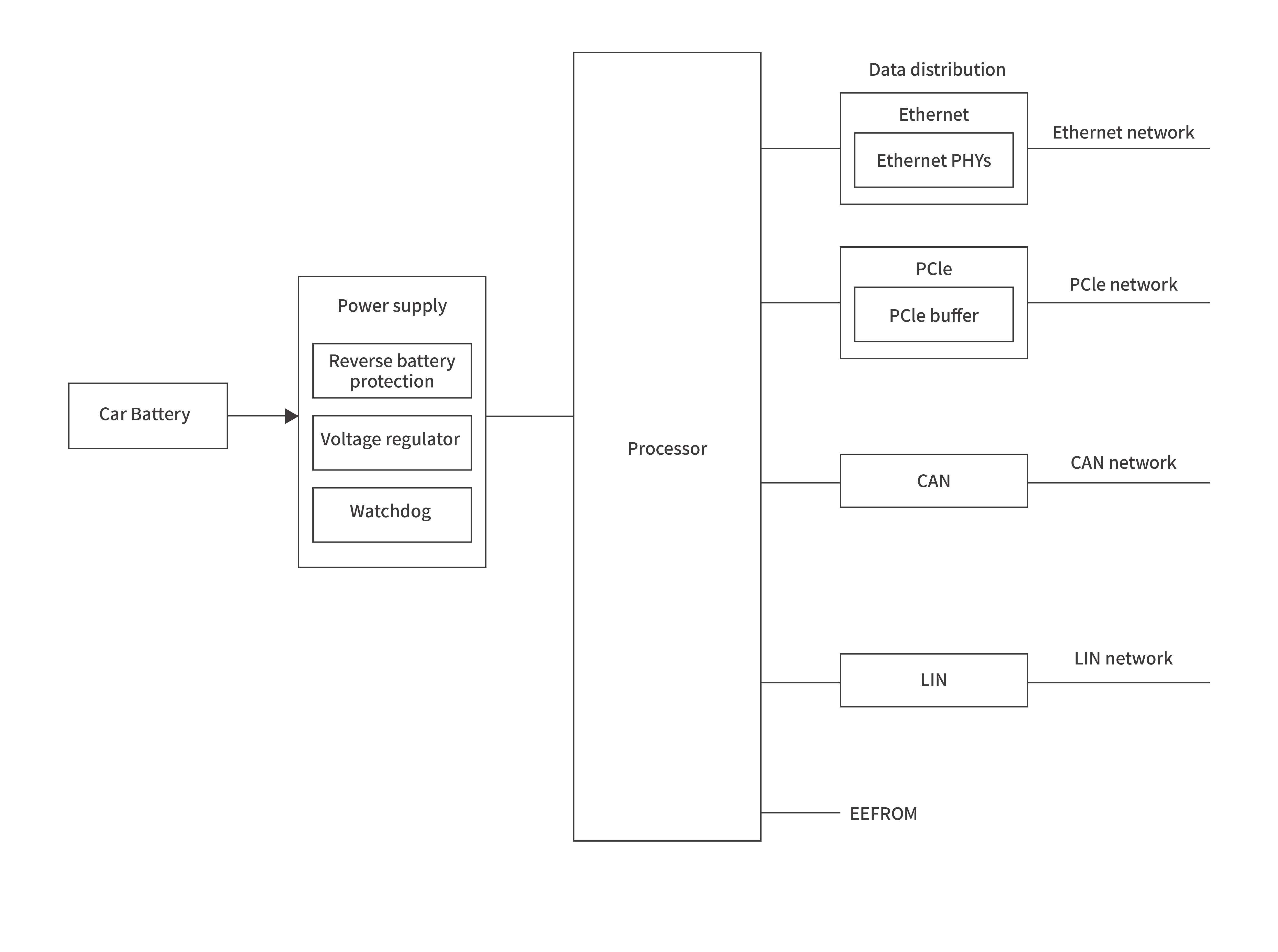
域网关

域网关是车内数据交换的高速枢纽。针对 CAN、LIN 及车载以太网接口,我们提供了超低电容、高强度的 ESD 保护阵列。我们的方案确保了各域之间的数据流在高速传输过程中无损、抗干扰,保障了整车电子架构的骨干链路安全。

应用框图
查找适用于您系统的产品和参考设计
域网关应用框图

产品

技术文档

Tvs 瞬态抑制二极管 (1)

SM8K33CA

-- SM8K33CA凭借33V工作电压和8000W浪涌吸收能力,可有效抑制电快速瞬变脉冲群、雷击浪涌等瞬态过压。表面贴装TVS设计适配高密度PCB布局、小型化设备,为工业自动化、通信基站、汽车电子(非车规)等领域提供可靠防护,兼容自动化生产工艺,降低应用成本。

Tvs 瞬态抑制二极管 (1)

SM8K33CA

-- SM8K33CA凭借33V工作电压和8000W浪涌吸收能力,可有效抑制电快速瞬变脉冲群、雷击浪涌等瞬态过压。表面贴装TVS设计适配高密度PCB布局、小型化设备,为工业自动化、通信基站、汽车电子(非车规)等领域提供可靠防护,兼容自动化生产工艺,降低应用成本。

Esd 静电保护元件 (1)

ESDLC5V0D8B

-- ESDLC5V0D8B 静电保护二极管,DFN1006/SOD882,标称关断电压 5.0V,双向 保护设计,低电容(1–10 pF),标准工艺/单通道,适用于 一般高速信号(如USB 2.0) 的静电防护。

Esd 静电保护元件 (1)

ESD0524P

-- ESD0524P静电保护二极管,DFN2510,标称关断电压5.0V,4通道/4路信号,经典物料

Esd 静电保护元件 (1)

ESDLC5V0D8B

-- ESDLC5V0D8B 静电保护二极管,DFN1006/SOD882,标称关断电压 5.0V,双向 保护设计,低电容(1–10 pF),标准工艺/单通道,适用于 一般高速信号(如USB 2.0) 的静电防护。

Esd 静电保护元件 (1)

ESD24VAPB

-- ESD24VAPB 静电保护二极管,SOT23,标称关断电压 24.0V,双向 保护设计,普通电容(无特殊低电容设计),标准工艺/单通道,适用于 对电容不敏感的低速信号 的静电防护。

Esd 静电保护元件 (2)

ESD1524D3LIN

-- ESD1524D3LIN 静电保护二极管,SOD323,标称关断电压 15.0V,单向 保护设计,普通电容(无特殊低电容设计),4通道/4路信号,适用于 对电容不敏感的低速信号 的静电防护。

ESD24VAPB

-- ESD24VAPB 静电保护二极管,SOT23,标称关断电压 24.0V,双向 保护设计,普通电容(无特殊低电容设计),标准工艺/单通道,适用于 对电容不敏感的低速信号 的静电防护。

Esd 静电保护元件 (1)

ESDLC5V0D8B

-- ESDLC5V0D8B 静电保护二极管,DFN1006/SOD882,标称关断电压 5.0V,双向 保护设计,低电容(1–10 pF),标准工艺/单通道,适用于 一般高速信号(如USB 2.0) 的静电防护。
sitemap网站地图