不朽情缘电子游戏官网

Global
EN
行业方案
技术支持
技术支持
超过千家合作客户,20年服务经验,从选型到技术支持我们都能为您提供
可持续发展
可持续发展
持续创新、引领行业进步是我们不屈的使命。
新闻&资源
新闻&资源
时刻与您分享我们的一点一滴
关于我们
关于我们
不朽情缘电子游戏官网电子集技术研发、芯片制造、封装测试、销售和服务于一体
人才发展
人才发展
一同释放潜力,塑造人类健康未来
行业方案
注重客户方案需求,量身定制解决方案,帮您提升产品核心竞争力

工业控制器 I/O系统

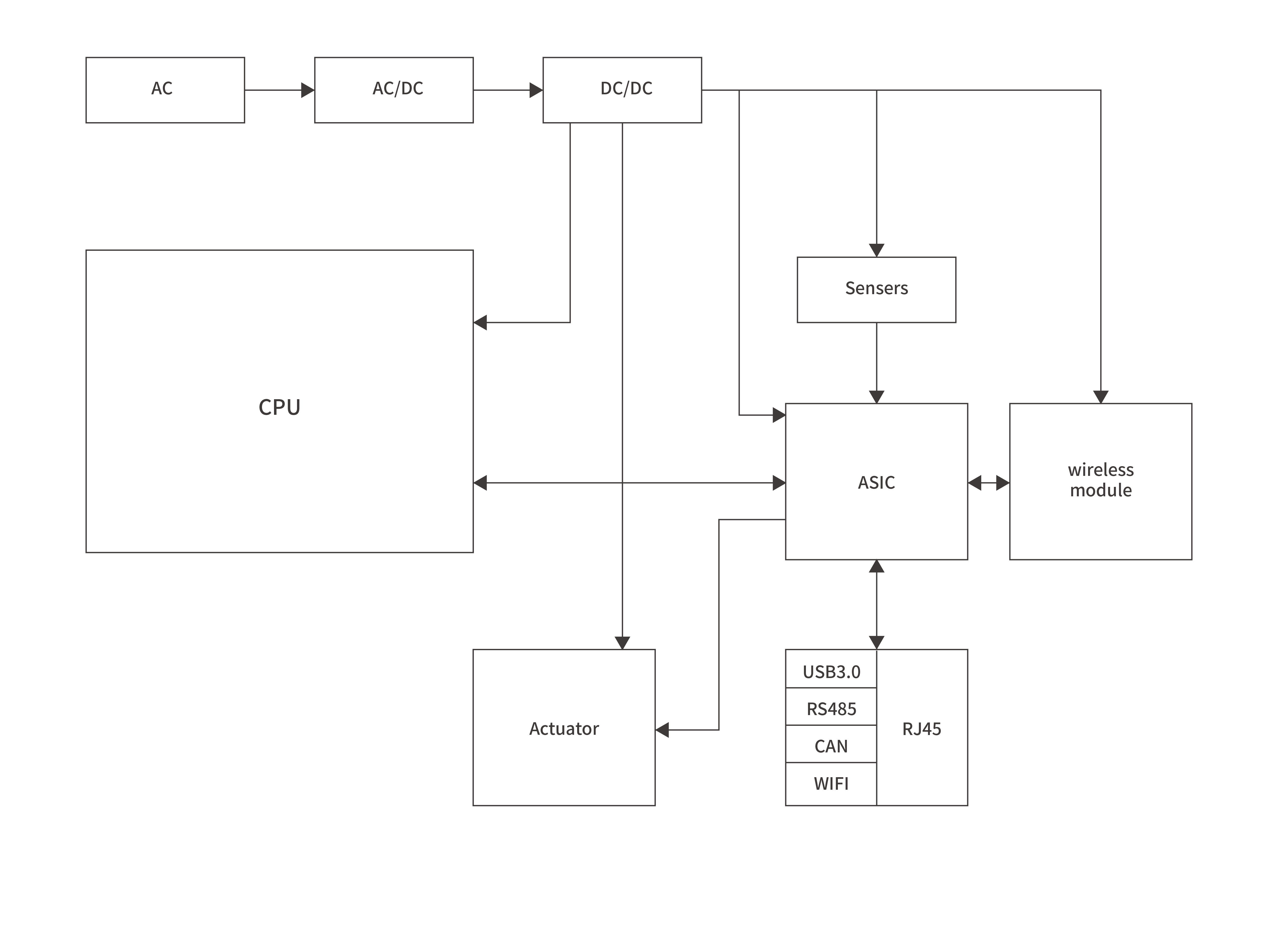
I/O 系统是工业控制器与生产现场之间的物理接口,负责采集传感器信号并驱动执行机构。针对工业现场频繁出现的电感性负载切换浪涌、高压静电放电(ESD)以及因长距离布线引起的接地环路干扰,我们提供了多通道集成式保护与数字隔离/电平转换方案。这些方案在确保微秒级高速逻辑响应的同时,有效隔离了外部高压尖峰对中央处理器(CPU)的冲击,即使在强磁场或严苛的电磁骚扰环境下,也能保障模拟量与开关量数据传输的绝对准确与系统运行的长期稳定性。

应用框图
查找适用于您系统的产品和参考设计
工业控制器 I/O系统应用框图

产品

技术文档

Gdt 气体放电管 (2)

2R600L-5.5×6

-- 2R600L-5.5×6:双电极、600V、5kA、≤1pF 气体放电管 (GDT),用于通信与电源保护

2R600L-8×6

-- 双电极、600V、10kA、≤1pF 气体放电管 (GDT),用于通信与电源保护

Mov 压敏电阻 (2)

Gdt 气体放电管 (3)

3R090L-5×7.6

-- 90V、≤1pF、5kA 三电极气体放电管,专为通信线路和数据接口提供高能量浪涌与雷击防护,适合对低电容和高可靠性有要求的应用场景。

3R090L-6×8

-- 90V、≤1pF、10kA 三电极气体放电管(GDT),适用于通信线路、宽带设备及低压信号接口的浪涌、雷击和瞬态过电压保护

3R090L-8×10

-- 90V、≤1pF、10kA 三电极气体放电管(GDT),适用于通信线路、宽带设备及低压信号接口的浪涌、雷击和瞬态过电压保护

Tvs 瞬态抑制二极管 (22)

Common mode inductor 共模滤波电感 (1)

Mov 压敏电阻 (2)

Esd 静电保护元件 (5)

ESDLC5V0D8B

-- ESDLC5V0D8B 静电保护二极管,DFN1006/SOD882,标称关断电压 5.0V,双向 保护设计,低电容(1–10 pF),标准工艺/单通道,适用于 一般高速信号(如USB 2.0) 的静电防护。

ESDSRVLC05-4

-- ESDSRVLC05-4 静电保护二极管,通用贴片封装,标称关断电压 5.0V,单向 保护设计,普通电容(无特殊低电容设计),4通道/4路信号,适用于 对电容不敏感的低速信号 的静电防护。

ESDSR05

-- ESDSR05 静电保护二极管,通用贴片封装,标称关断电压 5.0V,单向 保护设计,普通电容(无特殊低电容设计),标准工艺/单通道,适用于 对电容不敏感的低速信号 的静电防护。

ESD5V0K5

-- ESD5V0K5 静电保护二极管,SOD-523,标称关断电压 5.0V,单向 保护设计,普通电容(无特殊低电容设计),标准工艺/单通道,适用于 对电容不敏感的低速信号 的静电防护。

ESD0524P

-- ESD0524P静电保护二极管,DFN2510,标称关断电压5.0V,4通道/4路信号,经典物料

Tvs 瞬态抑制二极管 (1)

Common mode inductor 共模滤波电感 (1)

Pptc 自恢复保险丝 (1)

Esd 静电保护元件 (1)

ESDSM712

-- ESDSM712 静电保护二极管,7V+12V专为RS485设计,适用于 对电容不敏感的低速信号的静电防护

Tvs 瞬态抑制二极管 (1)

Common mode inductor 共模滤波电感 (1)

Ferrite beads 磁珠 (1)

Gdt 气体放电管 (3)

Pptc 自恢复保险丝 (2)

Tss 半导体放电管 (1)

Esd 静电保护元件 (5)

CMZ3225A-101T

-- CMZ3225A-101T 共模电感,3.2×2.5mm尺寸,额定阻抗100Ω,T型包装

CMZ3225A-501T

-- CMZ3225A-501T 共模电感,3.2×2.5mm尺寸,额定阻抗500Ω,T型包装

ESDLC3V3D3B

-- ESDLC3V3D3B 静电保护二极管,SOD323,标称关断电压 3.3V,双向 保护设计,低电容(1–10 pF),标准工艺/单通道,适用于 一般高速信号(如USB 2.0) 的静电防护。

ESD24VAPB

-- ESD24VAPB 静电保护二极管,SOT23,标称关断电压 24.0V,双向 保护设计,普通电容(无特殊低电容设计),标准工艺/单通道,适用于 对电容不敏感的低速信号 的静电防护。

ESDCANFD24VAPB

-- ESDCANFD24VAPB 静电保护二极管,SOT23,标称关断电压 5.0V,双向 保护设计,普通电容(无特殊低电容设计),4通道/4路信号,适用于 对电容不敏感的低速信号 的静电防护。

Common mode inductor 共模滤波电感 (2)

Ferrite beads 磁珠 (1)

Esd 静电保护元件 (1)

NRESDTLC5V0D8B

-- NRESDTLC5V0D8B 静电保护二极管,DFN1006/SOD882,标称关断电压 5.0V,双向 保护设计,极低电容(0.2 pF以内),标准工艺/单通道,适用于 超高速高频信号(如HDMI 2.1、5G射频) 的静电防护。

Gdt 气体放电管 (5)

2R090L-5.5×6

-- 双电极、90V、5kA、≤1pF 气体放电管 (GDT),用于通信与电源保护

2R090L-8×6

-- 双电极、90V、10kA、≤1pF 气体放电管 (GDT),用于通信与电源保护

3R090L-5×7.6

-- 90V、≤1pF、5kA 三电极气体放电管,专为通信线路和数据接口提供高能量浪涌与雷击防护,适合对低电容和高可靠性有要求的应用场景。

3R090L-6×8

-- 90V、≤1pF、10kA 三电极气体放电管(GDT),适用于通信线路、宽带设备及低压信号接口的浪涌、雷击和瞬态过电压保护

3R090L-8×10

-- 90V、≤1pF、10kA 三电极气体放电管(GDT),适用于通信线路、宽带设备及低压信号接口的浪涌、雷击和瞬态过电压保护

Esd 静电保护元件 (5)

Pptc 自恢复保险丝 (1)

Tss 半导体放电管 (1)

Common mode inductor 共模滤波电感 (1)

sitemap网站地图